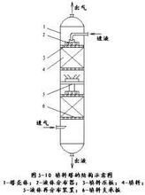
填料塔開展的總結
瀏覽: |
2020-05-06 10:25
填料***域***多的開展仍是在氣液散布器方面。
***外***公司對液體散布裝置的研討較老練,但對氣體散布器的研討是幾年前才起步的。與此相反的是,近五六年來,塔器中板式塔技術卻又有了明顯的進步。
盡管如此,新式填料的開發與使用仍將會有開展,其重點亦仍是規整填料。
預計今后填料塔的開展仍應歸結到以下三個方面:
①新式填料及塔內件的開發。
②填料塔的功能研討。
③填料塔的工業使用。
咨詢電話:18660775538.微信同號!
咨詢電話:18660775538.微信同號!

上一篇:選擇填料的材料分類
下一篇:填料塔運用的空氣別離裝置



